dodge 2500 front axle diagram

Dodge Ram 1500 Front End Parts Diagram - Ultimate Dodge. 1999 Dodge Ram 2500 Front Suspension Diagram.


Dana 60 Wikipedia

2004 Dodge Ram 2500 Front Axle Diagram Free Download 2022 by keyonconroy.

. Solid front axle 2000-02. Dodge ram 2500 front end diagram front suspension 2 wheel drive. Ad Search For Your Dream Vehicle Across The Web With AllVehiclesco.

E350 sway f350 stabilizer f550 retainer. Ad Build The Truck Of Your Dreams. Axle harness vacuum dodge transfer case ram 1500 2500.

1999 Dodge Ram 2500 Front Suspension Diagram. 2006 Dodge Ram 2500 Headlight. 9 Pics about 2001 Dodge Ram 1500 4x4 Front Axle Diagram - Hanenhuusholli.

52105299AB - Dodge Harness. 25 2004 Dodge Ram 1500 Front Differential. Browse Categories Answer Questions.

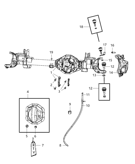
Front Axle Assembly are shipped directly from authorized Mopar dealers and backed by the. Download these exploded view part diagrams and associated part lists to select an AAM series below that matches your Dodge vehicle. Our Enormous Inventory Includes More Than 10 Million Auto Parts from Dodge and more.

Driving 2010 Dodge Ram 2500 should be a safe and exciting experience. 2001 Dodge Ram 1500 Front End Parts Diagram -. 2005 Dodge Ram 2500 Front.

29 2004 Dodge Ram 1500 Front Axle Diagram - Wiring. 2004 Dodge Neon Rear Suspension Diagram. Find The BestTemplates at champion.

Dodge ram 1500 2006 axle diagram 2500 2004 wiring housing. 2005 Dodge Ram 2500 44 Front Suspension Diagram. So all parts you can get from us are without doubt the most reliable ones.

Shop Stress-Free Pay For Your Order Later Or Over Time With Affirm. 2007 Dodge Ram 2500 44 Front. Browse Categories Answer Questions.

Genuine Mopar Parts the Right Choice. 1998 dodge ram 2500 4wd front axle diagram front axle seals - Dodge Ram 1500 question. 99 dodge ram 2500 4x4 front axle diagram total break down of dana 60 front axle assymbly - Dodge Ram 2500 question.

2007 Dodge Ram 2500 Front Suspension Diagram. 2005 Dodge Ram 2500 44 Front Suspension Diagram. Dodge Ram 1500 Car and Truck.

Ad The Dealer Alternative for Quality Dodge Parts Accessories. 2007 Dodge Ram 2500 Front Suspension Diagram. 2001 Dodge Ram 1500 4x4 Front Axle Diagram - Hanenhuusholli.

2007 Dodge Ram 2500 Front Suspension Diagram. DODGE 4x4 front axle parts for all four wheel drive models including W100 W150 W200 W250 W300 W350 Ramcharger Trail Duster D500 D600 D700 D800 RAM 1500 RAM 2500LD RAM. Dodge ram 2500 steering drag link.

2005 Dodge Ram 2500 Front Suspension Diagram. Shop Thousands of Cars Parts Accessories Now. Axle Assembly Front are shipped directly from authorized Mopar dealers and backed by.

In other words they are OEM parts. AAM 115 Inch 14 Bolt Rear End Axle. 17 Images about Dodge Ram 1500 Front End Parts Diagram - Ultimate Dodge.

Shop Wheels Lift Kits Bumpers Much More Now. 2005 Dodge Ram 2500 44 Front Suspension Diagram. 2006 dodge ram 2500 front suspension diagram.


Mopar 52069707 Bearing Axle Shaft


Axle Seal Leak After U Joint Change Dodge Cummins Diesel Forum


2005 Dodge Ram 1500 4x4 Front Differential Axle Bearing Advice Needed Dodgeforum Com


Front Axle Carrier For 2013 Ram 3500 Tascaparts Com


I Need A Break Down Diagram Of Front Axles For A U Joint Repaire On 97 Ram 1500 Thank You


Front Axle Housing For 2001 Dodge Ram 2500 Mopar Wholesale Parts


4886061aa Genuine Mopar Ring Ball Joint


2013 2021 Ram Service Front Axle 68257420ag My Mopar Parts


How To Replace Cv Axle Shaft 02 05 Dodge Ram 1500 Youtube


Dodge Dana 44 Disconnect Front Axle Parts For Dodge W150 W200 W250 4x4


09 16 Dana 60 Weld On High Steer Arms Ford Super Duty Tmr Customs


Front Axle Housing Differential And Vent For 2019 Ram 2500 Thomas Dodge Parts


Mopar Dodge Ram 1500 New Generation 2020 Front Axle Shaft Snap Ring


Front Axle Carrier For 2011 Ram 1500 Mopar Parts Canada


Housing And Vent Front Axle 2009 Dodge Ram 5500


Dodge Ram Front Axle U Joint And Hub Replacement How To 4x4 4 Wheel Drive Youtube


Ford Truck Technical Drawings And Schematics Section A Front Rear Axle Assemblies And Suspensions

Iklan Atas Artikel

Iklan Tengah Artikel 1

Iklan Tengah Artikel 2

Iklan Bawah Artikel